Trappe ovale 15''x24''
Freeman

Freeman
Passerelle & Pont / Trappe et clapet / Trappe dormant aluminium

Référence : FM161

Modèle : 2433-0003

Les trappes de la série 2400 sont conçues pour montage sur tous types de navire (pêche, passagers, commerce, servitude). Elles s’intègrent à plat pont.

Dormant acier, montage à souder.
Ouvrant en aluminium. Etanchéité sur plat.

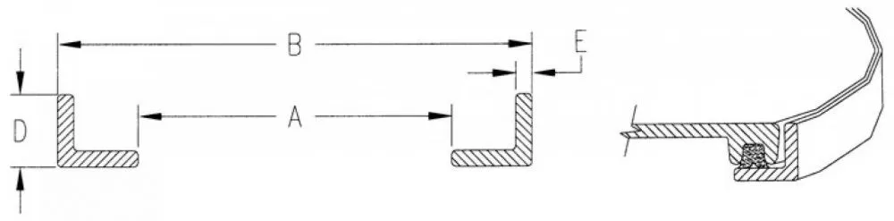
Dimension B : charnière non comprise. Réf: FM907 Joint de trappe étanchéité sur plat.

Prix public :
1608.67 € TTC
1340.56 € HT
Prix public :
1608.67 € TTC
1340.56 € HT

Modèle : 15"x24"
Forme : ovale
Matière : Aluminium
Clair de passage : 371x594mm
Type de montage : à souder
Type d'étanchéité : Sur plat
B : 442x673 mm
E : 6,4 mm
D : 33 mm
Poids : 16,8 kg
Poignée fixation : encastré
Type d'ouvrant : Amovible
Trappe ovale 15''x24''

LIMITES DE RESPONSABILITE :

Les fichiers sont téléchargeables librement

Cependant, en cas d’utilisation sur un projet, vous devez contacter le chef produit concerné pour s’assurer que la version téléchargée est bien la dernière à jour et que le produit retenu correspond bien aux attentes.

Nous informer de votre projet

Documentation technique
Plan 2433-0003_RevA_11-09-13-eng
ENG Ce document n'est pas en langue française.
TRAPPE OVALE 15"x24" ALU
Trappes dormant acier
Trappes dormant acier

Freeman

Dormant acier - Etanchéité sur chant

Les trappes de la série 2400 sont conçues pour montage sur tous types de navire (pêche,…